
High quality industrial valves designed to meet the requirements
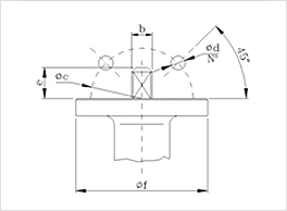
DN | b | Øc | e | øf | Ød | N° |
---|---|---|---|---|---|---|
40 | 11 | F05‐50 / F07‐70 | 22.0 | 90 | 7 / 10 | 4 |
50 | 11 | F05‐50 / F07‐70 | 22.0 | 90 | 7 / 10 | 4 |
65 | 11 | F05‐50 / F07‐70 | 22.0 | 90 | 7 / 10 | 4 |
80 | 11 | F05‐50 / F07‐70 | 22.0 | 90 | 7 / 10 | 4 |
100 | 14 | F07‐70 | 22.0 | 90 | 10 | 4 |
125 | 14 | F07‐70 | 22.0 | 90 | 10 | 4 |
150 | 14 | F07‐70 | 22.0 | 90 | 10 | 4 |
200 | 17 | F10‐102 | 34.5 | 150 | 12 | 4 |
250 | 22 | F10‐102 | 34.5 | 150 | 12 | 4 |
300 | 27 | F12‐125 | 34.5 | 150 | 14 | 4 |
350 | 27 | F12‐125 | 35 | 150 | 14 | 4 |
400 | 27 | F14‐140 | 35 | 175 | 18 | 4 |
450 | 27 | F14‐140 | 35 | 175 | 18 | 4 |
500 | 36 | F14‐140 | 46 | 175 | 18 | 4 |
600 | 46 | F16‐165 | 55 | 210 | 23 | 4 |
S.NO | Name | Material |
---|---|---|
A1 | Body | Ductile Iron (Fussion Bonded Epoxy Powder Coated) |
A2 | Disc | Ductile Iron (Rilsan coated) / SS (CF8M) / Aluminium Bronze |
A3 | Stem | SS 420 |
A4 | Liner(Seat) | BUNA(Nitrile) / EPDM / VITON |
DISC | SEAT (CODE) | TEMPERATURE | APPLICATION | |
---|---|---|---|---|
MINUMUM | MAXIMUM | |||
SG Rilsan Coated | Nitrile (BB) | ‐10°C | +80 °C | Water, natural gas, Petroleum oils |
Stainless Steel | High Temperature EPDM (EH) | ‐10°C | +120°C | Hot water, Ketones, steam, organic and inorganic dilute acids |
Stainless Steel | Fluorocarbon Rubber (VV) ‐ Viton | ‐10°C | +150°C | Petroleum oils, selected phosphate ester fluids, acids other than hot hydrofluoric |
Stainless Steel | Chlorosulfonated Polyethylene (HH) ‐ | ‐10°C | +70°C | Or chlorosulfonic acids Acids |
Stainless Steel | Hypalon Silicone (SS) | ‐10°C | +150°C | Dry heat, engine & transmission oils |
SG Rilsan Coated | EPDM (EH) | ‐10°C | +90°C | Glycol base Brake fluids & General applications |
DN | 40 | 50 | 65 | 80 | 100 | 125 | 150 | 200 | 250 | 300 | 350 | 400 | 450 | 500 | 600 |
---|---|---|---|---|---|---|---|---|---|---|---|---|---|---|---|
16 bar | 9 | 11 | 17 | 30 | 56 | 65 | 90 | 169 | 230 | 290 | 1100 | 1450 | 1700 | 2400 | 3400 |